全自动滤水器
1 产品介绍
反冲洗滤水器用于钢铁、化工、造纸等行业的供用水管道上,主要适用于DN500mm以下的管道,可代替二次滤网,节约开支。广泛用于水电站技术供水、冷却水和主轴密封水系统中,用于过滤水中较小的杂质,起到防止管道堵塞和保护用水设备等作用,是不可缺少的设备之一。
我所综合国内外先进技术,针对我国水电站、泵站的具体运行工况先后研制开发了FZLQ系列和CBWF系列滤水器。FZLQ系列产品,已形成标准化设计制造,自1994年官厅水电站首台安装至今,已制造销售千余台,具有自动过滤、自动/手动在线清污、自动/手动排污等功能,清污和排污时不影响正常的供水,适用于水电站、泵站技术供水系统高精度过滤。CBWF系列产品是结合多年滤水器开发经验及用户使用需求, 在国产化替代和抽蓄产业快速发展的背景下依托中国水科院十四五“五大人才”计划开发的新型产品,具有结构紧凑、设计新颖、检修便捷、滤网反冲效果好、性能稳定、功能齐全等特点,尤其适用于无人值班的水电站、泵站及其他工农业供水系统。
2 产品类型
2.1 FZLQ系列
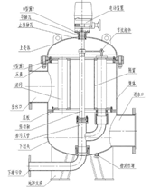
FZLQ系列全自动滤水器是具有旋转式排污、反冲效果明显,分段式转轴、易于安装检修,过滤面积大、手/电动双驱动等特点。该系列滤水器有FZLQ-A、FZLQ-F、FZLQ-G等多种类型供用户选择,均有自动过滤、自动清污、自动排污功能,具备自动定时、自动差压、自动远方等控制方式。在供水系统中,可持续的过滤出水压、水量稳定的清洁水,自动、及时、可靠地对滤水器过滤元件进行反冲洗并排出污物,满足用水设备的要求。
FZLQ-X-XXX-X-X- X
(1) FZLQ-A型
FZLQ-A型全自动滤水器采用多滤网单元式结构。正常过滤状态时.排污阀关闭,电动减速机不启动;当满足设定的清污、排污工况时.排污阀打开.减速机启动,带动滤水器内的排污叉管转动,使其上面管口与被冲洗的滤网单元相连通.附着滤网上的污物借助滤水器内部过滤后的清洁水反冲.污水经开启的电动排污阀排出。
技术特点
1) 多滤网单元结构,增加了有效过滤面积
2) 分段式转轴.易于安装检修
3) 旋转排污叉管.易于清洗排污
4) 不锈钢滤网.永不生锈
(2) FZLQ-G型
FZLQ-G型全自动滤水器采用单圈滤网刮板清污扁吸嘴吸污式机构。正常过滤状态时.排污阀关闭,减速机不启动;当满足设定的清污.排污工况时,排污阀打开.减速机启动,安装在轴上的刮板随轴转动,将附着滤网上的污物刮掉.并借助滤水器内部的部分过滤后的清洁水反冲,污物经扁吸嘴收集,通过开启的排污阀排出。
技术特点
1) 单个固定滤网
2) 设有污物刮集排除装置
3) 扁吸嘴自吸机构
4) 排污效率高
5) 适用于杂物、粘附物较多的用水场合
(3) FZLQ-M型
FZLQ-M型主轴密封全自动滤水器适用于水电站、泵站技术供水系统中的主轴密封供水、水导润滑、消防供水的高精度水过滤。正常过滤状态时,排污阀关闭,电动减速机不启动,污水经过滤网时,大于滤网过滤精度尺寸的杂质被阻挡,完成对污水的过滤;当达到设定的清污、排污条件时,排污阀打开,在滤网前后形成反向压差,减速机启动,带动滤水器内的排污吸管转动,使其管口与被冲洗的局部滤网部分对准,在滤网前后反向压差的作用下,过滤后的清洁水对滤网产生反冲洗效果,附着滤网上的污物借助反冲洗后的污水通过排污吸管经开启的排污阀排出,完成局部滤网面积的自动清洗和排污,随着排污吸管转动全部滤网面积都可以得到冲洗,完成在线过滤和清污、排污的工作。
技术特点
1) 结构简单、设计新颖、独特,体积小、结构简单,检修、维护方便
2) 有效过滤面积大,压降损失小,性能稳定
3) 功能齐全,可实现定时清污、差压清污、手动清污等,并可输出故障信号
4) 清污效率高,滤网反冲洗效果好,滤网使用寿命长.
5) 过滤精度: )0.01~)0.2mm
(4) FZLQ-F型
FZLQ-F型全自动滤水器采用多滤网单元结构并具有上下排污结构。正常过滤状态时,排污阀关闭,减速机不启动:当满足设定的清污、排污工况时下排污阀打开.减速机启动,带动滤水器内的排污机构转动,使被冲洗的滤网单元与排污叉管管口相连通,附着滤网上的污物借助滤水器内部的部分过滤后的清洁水反冲,经开启的下排污阀排出。当上排污阀开启时,电动减速机不启动,飘浮于滤水器本体内上部的飘浮物及悬浮物通过开启的上排污阀排出。
技术特点
1) 设有上、下排方式
2) 多滤网单元结构,增加了有效的过滤面积
3) 分段式转轴,易于安装检修
4) 旋转排污叉管.易于清洗排污
5) 不锈钢滤网,有多种结构型式选择
2.2 CBWF系列
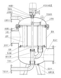
CBWF系列反冲洗滤水器是结合多年滤水器开发经验及用户使用需求,针对抽蓄电站及各类过滤精度/效果要求较高的供水系统开发的新型滤水器。具有结构紧凑、检修便捷、安装方式多样化、滤网反冲效果好、性能稳定、重量轻、安装尺寸小、功能齐全等特点。该系列滤水器有CBWF-A、CBWF-S、CBWF-Q等多种类型供用户选择,均有自动过滤、自动清污、自动排污功能,采用智能控制仪表与触摸屏的优化配置,可实现压差值的实时监测和排污过程的可视化,适用于无人值班的水电站、泵站及其他工农业供水系统。
CBWF-X-XXX-X-X- X
(1) CBWF-A型
结构原理
采用锥形滤芯,避免了液体的湍动和逆流,当滤芯堵塞时,独特的反冲洗转臂将滤芯逐组定位反冲洗。
应用场景
针对抽蓄电站,高水头水电站,替代传统芯式自动滤水器
技术特点
1) 锥形滤网,避免液体的湍动和逆流
2) 检修便捷,安装方式多样
3) 自动定位排污,节流降损
(2) CBWF-Q型
结构原理
内部采用刮刀结构进行污物收集,进水管紧贴罐体边缘布置且罐体下部采用锥形封头,形成旋流有助于污物沉积及排放,采用丝杠和快拆螺栓配合,形成滤水器壳体快拆结构。
应用场景
取代篮式、Y型及手动过滤器,实现快速解体,减少人工维护,用于过滤精度较高、悬浮物较少的工农业供水系统
技术特点
1) 采用快拆螺栓加丝杆结构,快速解体
2) 进口旋流有助于污物沉积及排放
3) 刮刀结构,检修维护间隔长
(3) CBWF-S型
结构原理
采用两级滤网过滤,通过电机驱动丝杠带动扫描器做螺旋运动对滤网进行深度清洁。
应用场景
针对低水头、过滤精度要求较高的水电站主轴密封供水系统和工业水处理系统
技术特点
1) 卧式结构,两级过滤,过滤精度高
2) 螺旋扫描清污,反冲耗水量少
3) 运行所需水压低,反冲时压降小
3 滤网及控制系统介绍
(1) 滤网类型及特点
1) 楔形线过滤网
当过滤精度为0.05-3mm范围:采用“V”型缝隙过滤元件滤芯,该滤网具有良好的防止杂草和污物堵塞(滤网挂污)的效果,以保证滤水器安全可靠运行。滤网采用不锈钢三角形断面型材,其横断表面连续光滑,在介质/网界面,杂质被有效的收集和清除,特别是阻塞和粘附在滤层的纤维化杂物,很易于被反洗水冲洗干净,该型滤网相对其它型(如钻孔等切削加工成型)滤网,具有不挂污的特点。该滤网过滤缝隙对水流方向形成反“V”形区,收集大于“V”形缝隙最窄处尺寸(过滤精度)的颗粒。
2) 孔型过滤元件滤芯
当过滤精度为3-6mm范围:采用孔型过滤元件滤芯,该滤网具有如下特点,以保证滤水器安全可靠运行。
1 有效过滤面积大
2 对树枝、杂草、粗纤维过滤效果显著
3 不易挂污,易于反冲
4 精度高,误差小
5 不锈钢材质,抗磨损,使用寿命长
3) 五层烧结网滤芯
当过滤精度为0.2~0.01mm范围:采用五层烧结网滤芯,该滤网具有如下特点
- 五层编制网,烧结在一起,过滤精度高
- 强度高,不易损坏
- 对沙粒、贝类过滤效果显著
- 不锈钢材质,抗磨损,使用寿命长
(2)控制系统
滤水器电控箱由可编程控制器、空气开关、接触器、中间继电器、换开关、指示灯、接线端子等组成。系统以可编程控制器-PLC 为核心,具有自诊断功能,可通过现地的控制开关、信号灯等设备对系统进行操作和监视,保证 PLC 故障时系统也能运行。
4 典型业绩成果
序号 | 主要业绩 | 投入时间 |
1 | 江苏省灌溉总渠管理处淮安二站 | 2023年 |
2 | 云南省漫湾电站 | 2023年 |
3 | 国网新源控股泰山公司泰安电站 | 2022年 |
4 | 湖南省电网公司响洪甸电站 | 2022年 |
5 | 国网新源控股莲蓄公司白莲河电站 | 2022年 |
6 | 云南保山苏帕河水电开发有限公司茄子山电厂 | 2022年 |
7 | 张河湾电厂 | 2021年 |
8 | 通用电气金寨电站 | 2021年 |
9 | 通用电气金沙电站 | 2021年 |
. | … | … |
部分抽水蓄能电站业绩介绍
序号 | 电站名称 | 设备所用部位 | 电站所在地 |
1 | 呼和浩特抽水蓄能电站 | 主轴密封供水 | 内蒙古呼和浩特 |
2 | 张河湾抽水蓄能电站 | 技术供水系统 | 河北省石家庄市井陉县 |
3 | 泰安抽水蓄能电站 | 技术供水系统 | 山东省泰安市 |
4 | 回龙抽水蓄能电站 | 技术供水系统 | 河南省南阳市南召县 |
5 | 天荒坪抽水蓄能电站 | 技术供水系统 | 浙江省安吉县 |
6 | 响水涧抽水蓄能电站 | 技术供水系统 | 安徽省芜湖市 |
7 | 福建仙游抽水蓄能电站 | 技术供水系统 | 福建仙游西苑乡 |
8 | 广东惠州抽水蓄能电站 | 技术供水系统 | 广东省惠州市博罗县 |
9 | 广州抽水蓄能电站 | 技术供水系统 | 从化县吕田镇 |
10 | 潘家口畜能电厂 | 技术供水系统 | 河北迁西 |
11 | 张河湾抽水蓄能电站 | 技术供水系统 | 河北石家庄 |
12 | 河南国网宝泉抽水蓄 | 技术供水系统 | 河南新乡 |
13 | 蒲石河抽水蓄能电站 | 技术供水系统 | 辽宁省丹东市 |
14 | 西龙池抽水蓄能电站 | 技术供水系统 | 山西五台县 |
15 | 天荒坪抽水蓄能电站 | 技术供水系统 | 浙江省安吉县 |
16 | 桐柏抽水蓄能电站 | 技术供水系统 | 浙江省天台县 |
17 | 溪口抽水蓄能电站 | 技术供水系统 | 宁波溪口 |
18 | 丰宁抽水蓄能电站 | 辅控及供水系统 | 河北丰宁 |
19 | 白莲河抽水蓄能电站 | 技术供水系统 | 湖北黄冈市罗田县 |
20 | 天堂抽水蓄能电站 | 技术供水系统 | 湖北省罗田县 |